三、主要技術參數
1)、本閥采用球面密封結構、無泄漏、耐壓和工作壓力等級更高。
2)、球閥驅動采用星行減速執行機構,可滿足水電站潮濕環境要求。
3)、閥位置有兩者機械顯示和開關接點輸出。
4)、介質:油、水、無腐蝕性氣體。
5)、公稱通徑:Φ15~Φ150
6)、額定壓力:1.6、2.5、4.0、6.3MPa。
7)、電源電壓:AC380V、AC220V、DC24V、DC220V
8)、環境溫度:0~45℃;介質溫度:≤150℃;相對濕度:≤95%RH。
9)、連接方式:內螺紋或法蘭連接。
四、外型及安裝尺寸
1、 法蘭連接

法蘭連接規格尺寸表
|
型號 |
ф |
ф1 |
H |
L |
L1 |
n-фd |
|
ZBF22QS-15 |
95 |
65 |
256 |
130 |
156 |
4-ф14 |
|
ZBF22QS-20 |
105 |
75 |
264 |
140 |
156 |
4-ф14 |
|
ZBF22QS-25 |
115 |
85 |
283 |
150 |
156 |
4-ф14 |
|
ZBF22QS-32 |
135 |
100 |
300 |
165 |
156 |
4-ф18 |
|
ZBF22QS-40 |
145 |
110 |
367 |
180 |
208 |
4-ф18 |
|
ZBF22QS-50 |
160 |
125 |
377 |
200 |
208 |
4-ф18 |
|
ZBF22QS-65 |
180 |
145 |
453 |
220 |
256 |
4-ф18 |
|
ZBF22QS-80 |
195 |
160 |
473 |
250 |
256 |
8-ф18 |
|
ZBF22QS-100 |
215 |
180 |
512 |
280 |
256 |
8-ф18 |
|
ZBF22QS-125 |
245 |
210 |
567 |
320 |
322 |
8-ф18 |
|
ZBF22QS-150 |
280 |
240 |
603 |
360 |
322 |
8-ф23 |
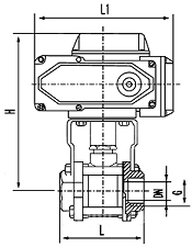
2、螺紋連接

螺紋連接規尺寸格表
|
型 號 |
DN |
G |
L |
L1 |
H |
|
ZBF22QS-15 |
15 |
G1/2″ |
72 |
160 |
177 |
|
ZBF22QS-20 |
20 |
G3/4″ |
85 |
160 |
180 |
|
ZBF22QS-25 |
25 |
G1″ |
90 |
160 |
190 |
|
ZBF22QS-32 |
32 |
G5/4″ |
112 |
160 |
194 |
|
ZBF22QS-40 |
40 |
G3/2″ |
120 |
160 |
209 |
|
ZBF22QS-50 |
50 |
G2″ |
145 |
160 |
218 |
五、角度的調整
1.電氣限位的調整
松開限位凸輪的頂絲,使其輕輕轉動,從而調整
凸輪角度來改變來改變微動開關的制動位置。確定位置后,
緊固凸輪的頂絲,調整完畢。
